数字产业长沙美助
解放收银员、帮助员工提升、增加客户粘性,让老板智慧创收!
致力打造产业升级!

功能说明

设置部门

第一步:登陆管理后台 > www.meizhuwl.net 右上角有两个系统入口,登陆全网营销系统入口(集团号与账号是相同的,要是忘记了密码请联系我们)

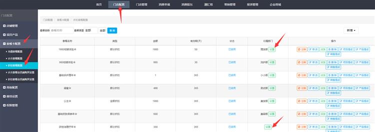
第二步:门店配置-套餐卡配置折扣套餐卡配置或者是计次套餐卡配置都可以归属部门选择一个部门即可(如下图操作)



上一条:如何关注公众号 下一条:跨店消费明细

联系我们

CONTACT US

QQ:6135246

电 话:13975825310

传 真:13007495310

邮 箱:6135246@qq.com

地 址:长沙市浏阳经开区

用手机扫描二维码关闭
二维码